Honda запатентовала затемняющиеся сенсорные окна
Компания Honda запатентовала новый вид автомобильных окон с сенсорной поверхностью, которые могут затемняться, если провести по ним пальцем. Заявка была оформлена в патентном ведомстве США.
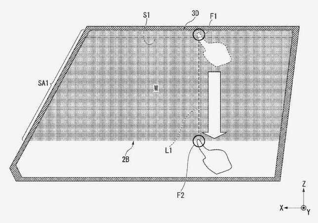
На патентном снимке показано, что пропускная способность света окон может регулироваться касанием пальца, как на дисплеях мобильного гаджета.
Подобная технология может стать альтернативой электрохромным «умным» стеклам, степень затемнения которых либо меняется автоматически благодаря сенсорам, либо управляется кнопками из салона.
Ранее компания Honda запатентовала систему «рентгеновского зрения» для водителя, которая способна при помощи специальных сенсоров распознавать пешеходов, находящихся в «мертвых зонах» или вне поля зрения автомобилиста.

Новости похожей тематики
- Обновленный Honda Odyssey оснастили пылесосом (фото)
- У Honda Civic появится еще один кузов
- Новое, девятое, поколение Honda Accord теперь и в купе (фото)
- В США дебютировал кроссовер Honda CR-V нового поколения
- Новая Honda CR-V 2012 (фото, видео)
- Новый Honda Civic 5D дебютировала во Франкфурте (фото)
- Toyota Land Cruiser 300: консервативный дизайн и три блокируемых дифференциала



















